Малоизвестные патенты Стива Джобса

В зависимости от того, с кем вы разговариваете, вы услышите, что Стив Джобс был либо выдающимся новатором, либо невыносимым руководителем, либо бесстыдным похитителем чужих идей. Но невзирая на разнообразие оценок, один факт очевиден: его имя числится в более чем 350 патентах. Хотя помимо него в списке присутствуют и другие сотрудники, все же, учитывая огромное внимание Стива к деталям, можно заключить, что его присутствие в патентах обусловлено не просто формальными причинами. Однако в этом богатом перечне патентов можно увидеть не только такие легендарные продукты как iPhone, Apple II и Macintosh, но и множество других интересных изобретений. В этом материале мы расскажем о самых интересных среди малоизвестных патентов, принадлежащих Стиву Джобсу.
1. Архитектура

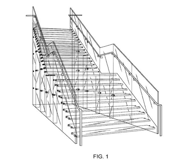
Стеклянная лестница
Стеклянные лестницы в главных магазинах Apple Store являются результатами уникальных инженерных разработок. Ступеньки выполнены из трех слоев стекла с промежуточными слоями, изготовленными компанией DuPont. Крепятся они на титановом каркасе и не являются прозрачными (делается это, чтобы излишне любопытные не могли с первого этажа заглядывать девушкам под юбки).

Экстерьер стеклянных зданий
Какие же стеклянные лестницы без стеклянных стен и стеклянной же крыши? Конструкция из выпуклого стекла, изложенная в данном концепте, должна будет стать основой для нового главного магазина, куда более амбициозной, чем знаменитый стеклянный куб на Пятой авеню в Нью-Йорке.

Стеклянный цилиндр
Как и в случае с Apple Store в Нью-Йорке, шанхайский магазин компании располагается под землей. Однако вместо того, чтобы просто скопировать легендарный куб, инженеры Apple решили воспользоваться изогнутым стеклом. Чтобы добиться этого эффекта, к окружной колонне были прикреплены стеклянные каркасы, на которых держатся изогнутые панели. Этот огромный стеклянный барабан обладает высотой почти 15 метров и, конечно же, имеет знаменитые стеклянные лестницы.
2. Варианты дизайна iPod
Если вспомнить о том, сколько разных версий iPod мы успели увидеть за последние годы, то становится неудивительно, что Джобс со своей командой подготовил множество вариантов дизайна плеера, прежде чем было изобретено колесико Click Wheel. Ни один из этих прототипов iPod так и не добрался до Apple Store, но по их виду можно почувствовать то, сколько идей инженерам и дизайнерам пришлось отправить в корзину, пока не была найдена самая удачная.

iPod с трекпадом
Проблема патентов на дизайн состоит в том, что в них описывается лишь внешний вид продукта, а не принцип его работы. Однако если взглянуть на патент от 2008 года, можно увидеть, что в то время компания Apple экспериментировала с возможностью использования в плеере iPod трекпада. Конструкция оказалась не такой уж нереалистичной: во втором поколении iPod Apple отказалась от механического колесика в пользу круглой сенсорной поверхности. Очень удачная идея, поскольку трекпад с такими миниатюрными размерами вряд ли отличается большим удобством в использовании.

T-образный контролер для iPod
Любопытно, что контролер крестовой формы, предназначенный для навигации по iPod, на момент публикации патента уже активно использовался в контрафактных версиях плеера. Возможно, Джобс и Apple поняли, что единственный способ остановить лавину подделок это запатентовать данный дизайн.

iPod с контролером-ползунком
Этот патент не может вызвать ничего кроме замешательства. Остается только догадываться о том, как Джобс и его команда собирались использовать ползунок на корпусе iPod для навигации. Возможно, при нажатии на центральную его часть песня начинала воспроизводиться или ставилась на паузу, а нажатием на верхнюю и нижнюю часть можно было переключать треки. А может так статься, что этот шаг Apple был просто направлен на то, чтобы сбить с толку другие компании. Напомним, что перед выпуском iPad из Купертино начали просачиваться слухи о том, что новое устройство будет называться Slate. Очень скоро на рынке появилось несколько планшетов от других компаний, в названии которых также присутствовало это слово.

iPod с экранной клавиатурой
Перед выходом iPhone Apple изучала идею использования Click Wheel для навигации по клавиатуре и по панели набора номера. Для ввода буквы было необходимо вращать колесико к этой букве и нажимать на его центр для ввода символа. Подход выглядел достаточно свежим, но не особо удобным. В конечном итоге выбор был сделан в пользу сенсорного экрана, и iPhone получил огромный тачскрин, который стал новым стандартом для всей отрасли.
3. Пользовательский интерфейс
Дизайн устройств Apple весьма привлекательный, однако без тщательно продуманного интерфейса они так и остались бы просто симпатичными кусками металла и стекла. В свое время в обмен на долю своих акций Apple получила доступ к графическому пользовательскому интерфейсу от компании Xerox, который в конечном итоге был реализован в первом Macintosh. Однако если бы не титанические усилия Apple по доведению до ума этого интерфейса, он так и не стал бы таким удобным и приятным в использовании.

Док
Стив руководил компанией NeXT, когда он запатентовал так называемый док, который стал одной из ключевых функций OS X. Когда Apple купила эту компанию и заполучила вместе с ней данную технологию, последняя перекочевала с чрезмерно дорогого NeXT Box на Macintosh. Интересно, что в патенте док располагается не в нижней, как в нынешней версии ОС, а в правой части экрана. Кстати, принцип работы дока практически не изменился с 1991 года, когда Джобс зарегистрировал этот патент.
4. Упаковка

Один из примеров легендарной склонности Стива Джобса к микроменеджменту состоит в том, как он подходил к упаковке продуктов Apple. Процесс распаковки iPhone за последние годы серьезно не изменился. Вы снимаете верхнюю часть коробки и сразу же видите перед собой iPhone. Под ним располагаются дополнительные аксессуары: кабели, наушники и инструкция.
По материалам Wired.com




