Apple делает клавиатуру здорового человека. Вы сможете починить её сами
Ни что так не ускоряет прогресс, как неудача о которой узнали все. Особенно если неудачу потерпел кто-то болезненно амбициозный, у кого до этого всё получалось. А если этот кто-то Apple, и компания взялась за исправление своей ошибки, индустрию ждут тяжелые времена. Всем придется перенимать ноу-хау психически нездоровой компании, осваивать технологии с другой планеты и думать иначе. В ближайшие годы мы станем свидетелями такого случая. В прицеле компании, судя про всему, главная беда клавиатур Apple. Даже копеечную неисправность в клавиатуре ноутбука Apple можно исправить только заменой всей клавиатуры целиком. Проблема обходится Apple в миллионы долларов в год, пользователи платят за неё своим здоровьем, временем, и часто своими кровными. Нормальная компания давно сделала бы клавиши заменяемыми. Apple решила пойти другим путём.

Клавиатуры Apple будет отремонтировать легче, чем другие
Внешне, безумные клавиатуры от Apple будут неотличимы от сегодняшних. Те же ряды клавиш с буквами/цифрами/символами на них, расположенные в соответствии с требованиями стандартных клавиатурных раскладок. С точки зрения пользователя, они будут точно такими же. Более искушенный пользователь будет знать что некоторые из этих клавиш, легко и просто (если знаешь как это делать) можно извлечь, и использовать как самостоятельные устройства ввода. Например, как прецизионную мышь, которая на порядок точнее чем самый лучший трекпад.
В Apple изобретают клавиатуру для Mac заново. Ещё разочек
В авторизованном центре Apple любой из этих модулей можно будет заменить на такой же, только исправный. У каждого модуля будет собственный уникальный идентификатор. При замене модуля его потребуется прописать в секретной облачной библиотеке Apple. Со временем стоимость модуля и цена его замены будут снижаться, и когда-нибудь окажутся в рамках приличий. В любом случае это будет обходиться дешевле и требовать меньше времени и нервотрепки чем замена клавиатуры. Про клавишу, способную превращаться в прецизионное устройство управления курсором пишут десятки СМИ. Будто бы именно этим заняты в Apple. Разберемся.
Ремонт клавиатуры Apple

Apple уже отказалась от «бабочки», а это большое дело
В том что Apple способна на что угодно никто не сомневается. Напрасно. Сумасшествие у неё особенное, оно никогда не выходит за рамки. Самые безумные её решения, когда их распробуешь и поймешь что к чему, оказываются вовсе не безумными. Но клавиша-мышь явно не тот случай. Во-первых, что-то похожее уже было. В нескольких моделях ноутбуков IBM ThinkPad. Извлекаемая из клавиатуры мышь называлась, если мне не изменяет память, TrackPoint.
Гибрид бульдога с носорогом: Apple засветила iPhone с физической клавиатурой
Мышь которой нужно управлять пальцами оказалась не слишком удобной, она очень легко терялась, а найти её было нелегко. Во-вторых, потребность в прецизионном управлении курсором на ноутбуке возникает не слишком часто и далеко не у всех. Тратить деньги и время на это в Apple точно не стали бы. Внешняя беспроводная мышь отлично с этим справляется. Но если природу клавиш и клавиатур изменят для достижения каких- нибудь более достойных целей, почему бы не дать людям и эту возможность?
Заменить клавиши на клавиатуре

Модульные клавиатуры — это спасение Apple
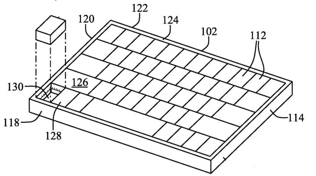
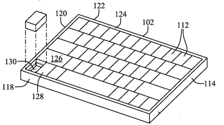
Попробовать такую клавиатуру, по понятным причинам, пока невозможно. Но кое-какие неприятные моменты очевидны уже сейчас. Извлекаемые клавишные модули, которые могут быть использованы вне клавиатуры, в группе риска. Независимо от того что у них будет внутри, они не могут не быть компактными. Маленький невесомый параллелепипед смахнуть со стола, не заметив этого – проще простого. А найти потерявшийся модуль целая история. В 20-е годы 21 века это больше не проблема.
Apple представила новую клавиатуру Magic Keyboard. Что о ней нужно знать
Контроллер клавиатуры мог бы контролировать положение отделившихся от неё клавишных модулей в радиусе пары-другой (а то и десятков) метров. Остальное – дело техники. Механическая прочность такой клавиатуры вызывает сомнения – монолитные клавиатуры кажутся более надежными. Но и это зависит от особенностей конструкции. На мой взгляд, идея вполне жизнеспособна. Но чтобы публика пришла в восторг на презентации модельной клавиатуры, необходимо что-то большее чем упрощение ремонта и кнопка-мышь. Но это проблема Apple, не наша, хотя пофантазировать на эту тему хочется.
Новая клавиатура Apple

В модульных клавиатурах все клавиши заменяются на новые в домашних условиях
Вчера, 19 августа 2021 года, американское бюро по патентам и торговым знакам опубликовало патентную заявку Apple, поданную в феврале 2020. Известно что даже запатентованные Apple изобретения далеко не всегда применяются в серийных изделиях компании. Либо применяются, но в совершенно неузнаваемой форме. Из сотен, а то и тысяч подробностей изобретения реальную ценность для Apple может представлять одна или две.
Apple разрабатывает новую клавиатуру для MacBook — с защитой от воды и пыли
В суде о нарушении патентных прав Apple каждое слово в патенте имеет значение. То что для Apple особенно важно, надежно защищено. Наша заявка озаглавлена “Отделяемая клавиша-мышь”. Устройство клавиатуры описывается на примере именно клавиши-мыши. Меня эта мышиная возня не убедила, я осмелился сделать собственные выводы. Все это чистой воды отсебятина. На документальной основе, но меня это не оправдывает.



