Зачем новым Apple Watch поддержка Touch ID?
Осталось чуть больше трёх недель до релиза Series 11 и Ultra 3, но мы получаем много сведений уже и о будущих моделях. Помимо редизайна обратной части часов и датчика артериального давления, Apple Watch могут получить Touch ID. Это стало известно благодаря коду для внутреннего тестирования Apple.

Внутренний код Apple подтверждает существование Apple Watch с датчиком Touch ID. Источник: 9to5mac.com
Филипе Эспозито обнаружил в коде детали, подтверждающие эксперименты Apple с добавлением биометрии в Apple Watch. Согласно идентификаторам, модели Apple Watch, предназначенные для выхода в 2026 году, имеют поддержку драйверов “Apple Mesa” — кодового названия технологии Touch ID.
Код предназначен для внутреннего использования и указывает на существование прототипов Series 12 и Ultra 4 с работающим Touch ID. Важно отметить, что это первый подобный случай: раньше Apple не проводила тестов с биометрией в Apple Watch.

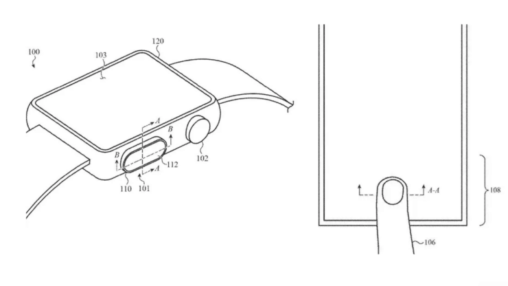
Титульные изображения двух патентов Apple, зарегистрированных в 2020 году.
К сожалению, код не позволяет понять, как именно реализована технология Touch ID в корпусе часов. У Apple есть патент на сканер отпечатка пальца, встроенный в кнопку часов, ещё с 2020 года. Также имеется патент на сканер, встроенный прямо в экран устройства, зарегистрированный в том же году.
Но все такие находки в коде предназначены только для внутренней работы инженеров компании и говорят лишь о существовании прототипов устройств. Надеяться на появление Touch ID в Series 12 и Ultra 4 пока рано, но через пару лет мы, возможно, увидим прототипы моделей со сканером отпечатка пальца в боковой кнопке, которые сейчас проходят тестирование.
В любом случае, единственная цель Touch ID в часах — избавить пользователя от ввода пароля и сэкономить пару секунд времени. А если у Apple появятся серьёзные планы на внедрение Touch ID в Apple Watch, мы обязательно узнаем об этом из сообщений о цепочках поставок или из кода бета-обновлений watchOS.



