[Флешбэк] 20—26 июля в истории Apple
Привет, друзья! AppleInsider.ru представляет новую серию проекта «Флешбэк», в рамках которого мы погружаемся в прошлое и рассказываем о том, чем запомнилась нам эта неделя в истории Apple. Желаем приятного просмотра!
Содержание
21 июля 2012 года

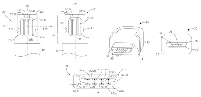
Cлухи о том, что Apple с выпуском смартфона 6-го поколения откажется от привычного всем пользователям iPhone и iPod 30-пинового коннектора в пользу уменьшенного, начали появляться еще в феврале 2012 года. Также в потенциальных корпусах следующего поколения смартфонов, которые просочились в Сеть, замечено очень необычное отверстие там, где обычно находится 30-пиновый разъем.
И вот 21 июля 2012 года издание Macworld сообщило о новом патенте, принадлежащем Apple и называющемся «Адаптеры питания для обеспечения питания и/или зарядки периферийных устройств». А в описании, прилагаемом к патенту, нашлись любопытные строчки:
Сокращение общего числа коннекторов для периферийных устройств уменьшит количество коннекторов и проводов, необходимых для управления устройством. Это в свою очередь уменьшит размеры и снизит стоимость продукта, также повысив качество и простоту использования самого устройства.
Момент истины состоялся осенью того же года, когда был официально представлен iPhone 5 — первое устройство Apple, оснащенное компактным коннектором Lightning. Между тем, фраза об уменьшении размеров продукта оказалась не совсем точной: хотя новый iPhone стал тоньше предшественника, он впервые получил увеличенный дисплей.
25 июля 1992 года

Пожалуй, рассказывать о Стиве Джобсе нет никакой необходимости: все и так прекрасно знают его качества и его характер, а также отношение к благотворительности. Правильно это или нет — пусть каждый решает для себя сам. Что касается другого Стива, Возняка, то он, возможно, является еще более неординарной личностью, чем Джобс. И дело не в его способностях, а в первую очередь в обычных человеческих качествах.
Многим известно, что Стив Возняк однажды дал свои собственные деньги на двухдневный рок-фестиваль. Но, скорее всего, это еще не самый интересный его поступок. В подобной благотворительности не раз принимал участие, например, Билл Гейтс и многие другие миллионеры и миллиардеры из IT-отрасли.
Самый интересный шаг Возняк сделал 25 июля 1992 года. Он начал карьеру преподавателя, открыв первый урок в средней школе. Его ученикам повезло не только с таким хорошим преподавателем, который, несомненно, мог бы их многому научить, но и с тем, что Возняк закупил на собственные деньги и подарил каждому из подопечных PowerBook 170. К слову, на тот момент цена ноутбука составляла 4600 долларов за штуку — далеко не каждый мог себе позволить такую роскошь.
25 июля 2013 года

Начиная с третьего квартала 2013 года, Интернет заполонили фотографии, где был запечатлен корпус загадочной бюджетной версии iPhone, которую блогеры успели прозвать «iPhone Lite». Однако 25 июля того же года производитель чехлов Tactus распространил фото, где можно было увидеть экономичную версию смартфона в полной сборке.
Телефон сравнивался с iPhone 5, и из фотографий было видно, что новинка тоже получит дисплей с диагональю 4 дюйма. В соответствии с утечкой, толщина так называемого iPhone Lite должна была составить 9 мм, что на 1,5 мм больше, чем у iPhone 5.
Несмотря на большое количество утечек из разных источников, многим не верилось, что Apple захочет выпускать дешевую версию смартфона, которая, судя по фото, производила впечатление дешевого устройства и скорее походила на грубую китайскую подделку iPhone 5. Тем не менее слухи сбылись, и осенью 2013 года Тим Кук продемонстрировал смартфон, который получил название iPhone 5c и пластиковый корпус в широком разнообразии расцветок.
25 июля 2012 года
25 июля 2012 года свершилось то, чего так долго ждали пользователи Mac: операционная система OS X Mountain Lion стала доступна для скачивания в Mac App Store. Mountain Lion стала первой версией OS X, где присутствовала глубокая интеграция iCloud. Система, используя Apple ID владельца, автоматически синхронизирует и настраивает Контакты, Почту, Календарь, Сообщения, FaceTime и прочие программы.
Среди других нововведений системы — появление сервиса сообщений iMessage, Центра уведомлений, заметно усовершенствованный браузер Safari, удобно реализованная возможность делиться файлами с другими пользователями, интеграция Twitter и Facebook, зеркалирование через AirPlay и новая функция Gatekeeper.
Невооруженным глазом можно было заметить, что многие новые функции, появившиеся в OS X Mountain Lion, перекочевали в систему из мобильной iOS. Кстати, эта интеграция между программными платформами Apple продолжается и по сей день. Нельзя также не отметить, что Mountain Lion стала последней системой из «кошачьего семейства» настольных операционных систем. Следующие версии OS X будут называться в честь самых ярких достопримечательностей штата Калифорния.
26 июля 2005 года

Когда в 1999 году Apple представила всему миру свою линейку портативных компьютеров iBook, то очень многие люди высказывали свое предположение, что эта модель компьютера совсем не подходит для серьезного пользователя. Только представьте себе, как какой-нибудь бизнесмен достает из своего портфеля такой яркий ноутбук да еще с округлыми формами. Пожалуй, если это было не смешно, то выглядело нелепо. Кстати, стоит отметить, что хорошей производительностью iBook тоже не отличался.
Конечно, Apple выслушивала всю эту критику и со временем стала вносить в линейку iBook некоторые изменения. «Яблочная» компания попробовала поиграться с цветовой гаммой ноутбуков, предложив покупателям даже полупрозрачные и белые матовые модели. Но, к сожалению, все попытки изменить iBook в лучшую сторону ни к чему хорошему не приводили: компьютер становился все больше и больше похож на свой более профессиональный аналог — PowerBook.
Начав с изменения округлой формы на всем привычную и, наверное, более стандартную, прямоугольную форму, Apple закончила тем, что использовала в iBook практически идентичную начинку с PowerBook. В итоге это кончилось тем, что последний iBook был представлен 26 июля 2005 года, уступив место черным, а потом и белым MacBook’ам.
20 июля 2011

Кстати, этот же месяц был отмечен завершением жизненного цикла еще одного популярного семейства ноутбуков Apple. 20 июля 2011 года компания объявила о том, что она прекращает выпуск легендарного MacBook в поликарбонатном корпусе. Появившись в 2006 году, MacBook на протяжении всех пяти лет оставался самым дешевым ноутбуком от Apple. Благодаря своей низкой цене этот ноутбук пользовался большим спросом и достаточно хорошо продавался. Но уже в 2008 году был представлен MacBook Pro в алюминиевом корпусе, что, возможно, и повлияло на дальнейшую судьбу оригинального MacBook.
Кстати, первый оригинальный MacBook появился 16 мая 2006 года. Он был доступен как в белом, так и в черном корпусе. Также он был одним из первых ноутбуков, в который инженеры Apple внедрили разъем питания MagSafe и ввели стандарты глянцевого экрана, утопленной клавиатуры и механической защелки. В течение нескольких лет в линейке Apple попросту отсутствовал компьютер, который бы назывался просто MacBook. Ситуация изменилась осенью прошлого года, когда был представлен новейший 12-дюймовый ноутбук, вернув в модельный ряд компании лаконичное название «MacBook».



