iPhone научат определять болезни по дыханию — что известно о новой технологии Apple
Apple получила патент на встроенный в устройства датчик дыхания, способный определять признаки диабета, повышенного холестерина и других заболеваний. Технология описана для iPhone, Apple Watch и даже автомобильных систем. Пока это только патент, а не готовый продукт, но направление говорит о многом. Тем более, что ранее умные часы Apple научились распознавать гипертонию и это серьезный шаг вперед.

Будущие iPhone могут получить датчик для проверки уровня холестерина прямо в кармане
Содержание
Какой датчик здоровья Apple хочет добавить в iPhone
Патент называется «Electronic devices with breath sensing systems» — «Электронные устройства с системами анализа дыхания». По сути, речь о встроенном алкотестере нового поколения, только вместо алкоголя он ищет молекулы-биомаркеры, связанные с конкретными заболеваниями.

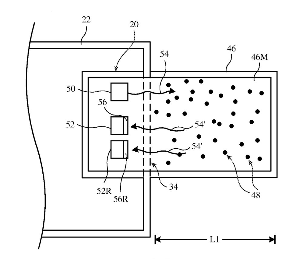
А вот так сам патент выглядит. Датчики улавливают выдыхаемый воздух. Изображение: appleinsider.com
Работает это так: в корпусе устройства появляется специальное окошко с инфракрасным датчиком. Когда вы подносите iPhone к лицу и дышите как обычно, инфракрасный луч проходит через выдыхаемый воздух и фиксирует определённые молекулы газа. Эти данные сравниваются с медицинской базой, после чего устройство может предупредить о возможных проблемах со здоровьем.
Не забудьте подписаться на наш канал в Telegram.
Важная деталь: мундштук не нужен. Apple подчёркивает, что анализ работает при обычном дыхании, без каких-либо дополнительных аксессуаров. Достаточно просто взять телефон в руки.
Какие болезни iPhone сможет определить по дыханию
Согласно патенту, технология способна выявлять биомаркеры нескольких заболеваний:
- Диабет
- Повышенный холестерин
- Другие заболевания (конкретика в патенте не раскрыта)
❗️ ЕЩЕ БОЛЬШЕ СТАТЕЙ ОБ APPLE ИЩИТЕ В НАШЕМ ДЗЕНЕ СОВЕРШЕННО БЕСПЛАТНО
По логике работы это напоминает то, как Apple Watch уже умеют отслеживать сердечный ритм и уведомлять о нерегулярных сокращениях. Только здесь вместо пульса анализируется химический состав дыхания. Предположительно, при обнаружении отклонений устройство будет рекомендовать обратиться к врачу — как сейчас делают часы Apple при подозрении на мерцательную аритмию.
Как iPhone будет использовать Face ID и камеру для анализа дыхания
Отдельный интересный момент — Apple планирует задействовать уже существующие сенсоры iPhone для повышения точности анализа. В патенте описано использование обычной камеры и инфракрасной камеры глубины (той самой, что отвечает за Face ID) для определения расстояния между лицом пользователя и датчиком.

Схема работы датчика: инфракрасный луч проходит через выдыхаемый воздух
Зачем это нужно? Если лицо слишком далеко, анализ может быть неточным. В таком случае устройство либо попросит поднести телефон ближе, либо автоматически скорректирует направление инфракрасного луча. Apple описывает специальный механизм, который направляет луч точно к области рта пользователя.
❗️ПОДПИШИСЬ НА НАШ ЧАТИК В ТЕЛЕГРАМЕ. ТАМ ТЕБЕ ОТВЕТЯТ НА ЛЮБЫЕ ВОПРОСЫ
Получается, что камера Face ID, LiDAR-сканер и новый датчик дыхания могут работать как единая диагностическая система. Это принципиально отличает iPhone от отдельных медицинских приборов — смартфон уже «знает», кто перед ним и на каком расстоянии находится.
Какие функции здоровья уже есть в iPhone и Apple Watch
Apple давно и последовательно двигается в сторону медицинских технологий. Apple Watch измеряют пульс, уровень кислорода в крови, снимают ЭКГ и отслеживают сон. iPhone уже участвует в медицинских исследованиях через приложение Apple Health.
Но анализ дыхания — это совершенно другой уровень. Сегодня, чтобы проверить холестерин, нужно сдать кровь в лаборатории. Даже домашние экспресс-тесты требуют прокола пальца. Если технология из патента когда-нибудь станет реальностью, проверка займёт несколько секунд без какого-либо дискомфорта.
Тим Кук ещё в 2019 году сказал: «Если посмотреть из будущего, главным вкладом Apple в жизнь человечества будет здоровье». Текущий патент — очередной шаг в этом направлении.
Стоит ли ждать датчик дыхания в ближайших iPhone
Здесь нужна трезвая оценка. Это патент, а не анонс продукта. Apple ежегодно получает сотни патентов, и далеко не все из них превращаются в реальные устройства. Между патентом и готовой функцией могут пройти годы, а некоторые разработки так и остаются на бумаге.
Есть и практические вопросы:
Читайте также: Apple получила штраф за платежи в Россию — что теперь будет с App Store и iPhone
- Медицинская сертификация — чтобы устройство могло заявлять о диагностике заболеваний, нужны длительные клинические испытания и одобрение регуляторов
- Точность — анализ дыхания в лабораторных условиях и в реальной жизни (на улице, в метро, после кофе) может давать совершенно разные результаты
- Дополнительное отверстие в корпусе — Apple годами стремится к герметичности, а тут нужно окошко для прохождения воздуха

По задумке Apple, анализ дыхания будет происходить при обычном использовании телефона
Патент описывает технологию не только для iPhone, но и для Apple Watch, автомобильных систем и даже информационных киосков. Такой широкий охват типичен для патентных заявок — компания старается застолбить максимум возможных применений.
В сухом остатке: это интересная и потенциально полезная технология, но до её появления в реальном устройстве может пройти немало времени. Если вы ждёте iPhone 18 или 19, рассчитывать на встроенный анализатор дыхания точно не стоит. Но как направление — это, пожалуй, самое практичное из того, что Apple патентовала в области здоровья за последнее время. Следить за развитием этой истории определённо имеет смысл — особенно тем, для кого регулярный контроль холестерина или сахара в крови действительно важен.



